如何提高質量流量計的實際測量精度
工業發展的不斷加快,對流量計的要求也越來越高。HK-CMF質量流量計屬于高標準的質量流量計,能夠測出流體的質量、溫度跟密度,還可以計算出流量的體積。在實際應用的過程中,對質量流量計的準確度要求極高,因此,在實用的過程中,要提高質量流量的準確度。先從質量流量計的原理開始。
一、科里奧利質量流量計的工作原理
HK-CMF質量流量計是利用測量管(也稱振動管)兩半部分振動頻率相位差正比于質量流量以測量質量流量,利用測量管諧振頻率與管中被測量介質密度間的函數關系求取密度。科里奧利質量流量計還可從兩個基本參數質量流量qm和密度ρ得出體積流量qv。
二、影響科里奧利質量流量計實用精度的因素
科里奧利質量流量計是一種電磁驅動的機械振動型的流量測量儀表,構成該流量計測量管的材料會受到工藝介質壓力和溫度的影響。而安裝在管道中的流量測量管(也稱流量振動管)又會受到工廠管線的機械振動、機械應力、機械扭力等對測量的影響。另外科里奧利質量流量計本身表現出的誤差特性則呈現“喇叭筒”,而并非以不同的流量呈現一條平的直線。鑒于以上原因,提高科里奧利質量流量計實用準確度的措施為:
1)針對科里奧利質量流量計的實際工藝參數,對該流量計進行“個性化標準”,從而實現在實際使用流量點的一定范圍內,該科里奧利質量流量計的實際測量誤差(與標準值的差)趨于零;
2)把好科里奧利質量流量計的安裝環節,減少或消除機械應力、機械扭力和機械振動等對該流量計使用的影響;
3)考慮工藝壓力、溫度等對科里奧利質量流量計測量準確度的影響;
4)把好科里奧利質量流量計的投用關。
三、實現科里奧利質量流量計實用準確度的方案
3.1 實施“個性化標準”方案,實現流量計量接近零誤差
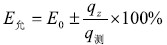
科里奧利質量流量計的誤差公式:
式中:E允—流量計的允許誤差;
E0—流量計的準確度等級;
qz—流量計的零點漂移值;
q測—流量計的當前測量值。
由此可知科里奧利質量流量計的誤差特性曲線如圖1所示。
圖1 科里奧利質量流量計的誤差特性曲線
針對科里奧利質量流量計誤差特性,結合實際使用工藝,科里奧利質量流量計僅在一個比較小的流量范圍內工作,由此可以設法讓該流量計在實際使用流量點的一定范圍內(通??刂七@個范圍為實際使用流量點的±20%)的測量誤差趨于零,為此可以利用液體流量標準裝置,根據國家質量流量計檢定規程(JJG1038-2008)設置流量檢定點,并對實際使用流量點的±20%范圍進行布點校準(至少三點:80%Q實際、Q實際、120%Q實際),實現該質量流量計的“個性化標準”,其主要目的是既要讓其標準結果符合質量流量計檢定規程的要求,又要讓該質量流量計在實際使用流量點的±20%范圍內,采樣標準的三點的測量誤差趨于零,特別要做到的是讓實際使用流量點的測量誤差(流量計示值與標準裝置的標準值之差)為零,只有這樣,質量流量計“個性化標準”的工作才徹底完成。
根據以上的設想,對一臺編號為:14005601的質量流量計進行“個性化標準”,從工廠得知該流量計的實際使用的流量點為:21.7t/h,最大流量為:43.6t/h,根據國家質量流量計檢定規程(JJG1038-2008)的要求對其進行檢定,檢定結果在21.7t/h的示值誤差是:-0.153%。
從以上數據判斷該質量流量計在實際使用點21.7t/h流量下測量精度并不是很高,為此根據以上數據,對該流量計進行調校,將其流量校驗系數上調0.153%,然后對此按照“個性化標準”方法對該流量計進行標準,重新標準結果在21.7t/h的示值誤差是:0.002%。
通過上述的實踐,有效實施對科里奧利質量流量計進行“個性化標準”,從而實現流量計量接近零誤差。這一實用技術值得推廣。
3.2 從安裝環節入手,消除機械因素對流量計使用的影響
科里奧利質量流量計是一種機械振動型的流量計量儀表,要確保該流量計實際使用的高準確度,則應在安裝環節設法消除振動、應力、扭力等機械因素對科里奧利質量流量計使用的影響。
3.2.1 消除機械振動的方案
在科里奧利質量流量計實際使用的現場,機械振動是客觀存在的。由于是一種機械振動型的流量測量儀表,那么就存在流量計本身的振動系統是否會受到外界振動系統的影響,是否有辦法讓流量計本身的振動系統的振動不向外界傳遞,同時又不讓外界振動系統的振動向流量計振動系統傳遞,設法讓這兩個振動系統的振動相互隔離,相互獨立,就可消除機械振動對測量的影響。經過實踐,對于振動較強的場合,以圖2方式對科里奧利質量流量計進行安裝,就可較好地消除振動對測量的影響。
1-傳感器;2-第一組支撐;3、4-截止閥;5-第二組支撐
圖2 管道支撐物的分布
如不可避免要在強振動區安裝傳感器,最好采用隔振性好的管道支撐物。管道支撐物應有足夠的剛度和質量。具體做法是:支撐物的下端必須固定在穩固的基礎上,上端與管夾子相配合來支撐工藝管線,但切不要用表體來支撐管線和輔助設備,包括傳感器自身。管道支撐后,應讓傳感器的整體(箱體及法蘭)處在自由懸空狀態。支撐物應以傳感器為中心對稱分布,距中心距離以1~1.5倍傳感器長度為佳,截止閥安裝在這組支撐之外。對于較大口徑的傳感器,分設在兩側的截止閥的外側可再增設對稱的一組支撐(如圖2所示)。支撐物的下端如固定在地面上,必須是水泥地基。地基越穩固,支撐越可靠,其減振性就越好。在空間允許的情況下,推薦采用水泥墩帶卡子的安裝方法,水泥墩的結構如圖3所示。管卡子的支撐孔軸線應處于水平位置,支撐物的高度應以工藝管線保持水平直線為宜。用卡子夾緊工藝管道,有助于減弱潛在的干擾振動(圖4)。
1-緊固螺母;2-上卡子;3-下卡子;4-抗移動栓;
5-水泥墩主體;6-地腳螺栓
圖3 抗振水泥墩
1-緊固螺母/螺桿;2-上卡子;3-下卡子;4-支撐柱
圖4 管卡與支撐
3.2.2 消除機械應力、機械扭力的方案
盡管科里奧利質量流量計的制造商已采取措施,減少了實際應用場合的機械應力與機械扭力對質量流量計的影響,但“無應力”安裝是科里奧利式質量流量計傳感器安裝必須遵守的前提,也是與其他流量傳感器安裝的最大區別。
只有做到“無應力無扭力”安裝,才能確??评飱W利質量流量計實際應用過程的準確可靠。經過實踐,提出“一體化安裝”的方案:讓傳感器與工藝管線同軸,并且傳感器法蘭安裝尺寸與工藝管線預留尺寸吻合,安裝時對連接件均勻對稱地施力(如果有條件可采用扭力扳手),使流量傳感器與前后連接管之間的連接沒有扭力。具體實踐中可采用如下措施:利用工藝連接件面到面的準確尺寸,首先把要安裝的傳感器與配置的上、下游管線(各有一段適當的長度即可)同軸對準并連接,同時注意保持連接件的受力均勻,再安裝上、下游截止閥及其外配管(各有一小段即可)。將這些作為一個整體預先連好,然后將這個整體吊裝預置在2和5的支撐柱上,并上緊管卡,最后將在圖5中6部與工藝主管線相焊接。焊接過程中注意先點焊找正,讓其均勻受力,最后在6部進行滿焊。另外如果能夠在質量流量計前后“2~5”部分安裝波紋伸縮器,那就可完全消除機械應力或扭力,并有利于周期檢定的拆裝。實踐證明,這是行之有效的“無應力”安裝的方案,按該方案安裝的科里奧利質量流量計,在周檢拆裝時也有明顯的好處。該方案很好地消除了機械應力、機械扭力的影響,確??评飱W利質量流量計實際計量結果的準確可靠。
1-傳感器;2-第一組支撐;3、4-截止閥;5-第二組支撐
圖5 管道支撐物的焊接
3.3 考慮工藝壓力、溫度對計量準確度的影響
科里奧利質量流量計在出廠標定時,標定介質的壓力和溫度與實際使用介質的壓力和溫度是不可能一致的,如何消除壓力、溫度對測量準確度的影響?在準確度要求不高的場合,可以參照生產廠家給用戶提供的壓力和溫度的修正系數進行(簡稱系數修正法)。在準確度要求高的場合,則采用揚子石化公司計量中心站的“可模擬現場工況壓力的流量標準裝置(模擬壓力范圍:0.3~1.5MPa)”,對該質量流量計進行“現場工藝壓力模擬標準”。
目前艾默生、E+H等公司的科里奧利質量流量計溫度對計量準確度的影響較小,可以忽略不計。主要考慮實際工藝壓力對計量的影響。
3.4 把好科里奧利質量流量計的投用關
對科里奧利質量流量計進行“個性化準確”和“模擬現場壓力準確”,實際上是將質量流量計與實際應用場合的條件相吻合,最終的目的是要讓質量流量計適合被計量對象的實際情況,以保證計量結果準確可靠。從安裝環節入手,則是讓質量流量計有一個穩固的基礎,有一個好的“生活環境”,從而設法消除機械振動、機械應力、機械扭力等對科里奧利質量流量計使用的影響。
完成了質量流量計的標準、安裝后,如何驗證安裝是否符合要求,如何確保實際使用的高準確度,把好科里奧利質量流量計的投用關就顯得特別重要。投用的具體內容包括:查驗檢定或標準證書、確認流量計的組態、確認流量計電氣接線、供電、接地、確認安裝情況是否規范、進行“零點校驗”。
依據以上的措施與方案,對某公司用于石腦油計量的一臺CMF400質量流量計實施標準(“個性化標準”和“模擬壓力標準”)、安裝和投用,經3個多月的運行考核及計量確認,該流量計的實際交接誤差一直保持在0.034%以內,實現了實際計量的高準確度。實踐證明本文提供的技術措施與方案行之有效。
四、結束語
總之,在質量流量計的實際應用過程中,要達到一定的標準,在選型,標準,安裝以及投用的過程中,要把控好每個環節的過程控制,明白應用過程中的重點跟細節。做到這些,就能夠很好的提高質量流量計的準確度。
- 上一篇:質量流量計測量天然氣方面的問題 2018/5/17
- 下一篇:國產質量流量計的應用與維護 2016/11/15
